热门关键词

联系我们

企业名称:上海琛派石化设备有限公司

手机:13564983489

电话:021-56553820

传真:021-56553820

地址:上海市金山区枫泾镇环东一路65弄7号1323室

网址 : www.shcpsh.com  

产品展示

您的当前位置: 首 页 >> 产品展示


PSZ型 罐底焊缝真空检漏盒抽空器

一般油罐底板焊缝试漏方法
油罐底板在建成和维修以后必须进行检漏。常用的方法有:真空箱试漏法、漏磁扫描探伤、气体检漏和充水试压等方法。


罐底焊缝真空检漏盒抽空器适用于真空试漏法
真空检漏盒采用薄板做成无底的长方形盒子,盒顶部严密地镶嵌一块厚玻璃,盒底四周边沿包有不透气的海绵橡胶,使盒子严密地扣在底板上。盒内用反光的白漆涂刷。盒子上装抽气短管和进气阀。试验焊缝时,先在焊缝上涂肥皂水,再将真空盒扣上,用真空泵将盒内抽成55kPa的真空度,最好在-70KPa以上;观察盒内有无气泡出现,如有气泡,应作出标志加以焊补。

  罐底焊缝真空检漏盒抽空器常被用来检查油罐焊缝,特别是圆周焊接部分,不常用于整个罐底。

  罐底焊缝真空检漏盒抽空器安装在真空箱外部,通过0.5MPa的压缩空气产生一定的负压值,一般在-70KPa以上,实现焊缝的真空检漏试验

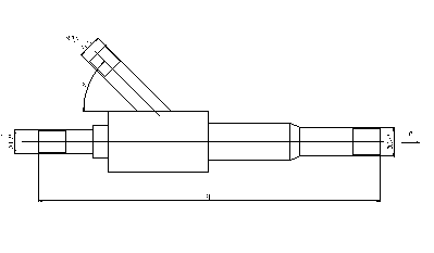
二、抽空器结构:
罐底焊缝真空检漏盒抽空器是一个三通结构,吸气口垂直或采用一定角度都可,一般材质为碳钢,接口规格为4分外丝联接;出口联通大气;负压值在-70KPa以上,特别适用于真空盒试验装置;

三、设备尺寸: